产品分类
产品展示
Products Center
您的位置:勤龙科技 >> 产品展示 >> 阀门系列 >> 排气阀系列 >> QB1内螺纹单口排气阀
QB1内螺纹单口排气阀

单口排气阀用于管路上的最高点或有闭气的地方,排除管内的气体来疏通管道,达到正常工作,如不装排气阀,管内流动的液体会产生动热引起气体.形成短路,使管道出水容易达不到要求。其次,管道运转转时出现停电、停泵管道就会出现负压力,而会引起管道振动或破裂,(排)吸气阀就迅速把空气吸入管肉,防止管道振动或破裂。单口排气阀有二种连接方式,丝扣、法兰。
单口排气阀工作原理:
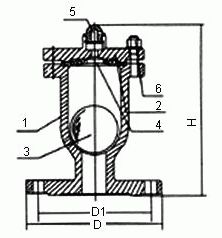
单口排气阀主要由阀体、阀门、上盖、阀杆、浮球、排气嘴等组成。当需要排出管道内的气体时,管道内的空气在水的压强作用下进入体腔内,并从排气嘴排出,随之管道内的水充满体腔内,使浮球在水的浮力作用下,向上移动将排气嘴堵塞,达到自行密封,管道在正常行中,水中的空气在压强的作用下,不断排入排气阀的体腔上部,迫使浮球下降,离开原来密封位置,这时空气又从排气嘴排出,随之,浮球又恢复到原来位置自密封,因此,排气阀在正常工作中阀门始终是开着的,浮球不断重复上述动作,空气不断排出。当需要检修或清扫体腔时,应将阀门关闭。单口排气阀,顺时针旋转阀杆时为关闭。
单口排气阀技术参数:
| 公称通径DN(mm) | 15(1/2")~50(2") |
| 公称压力PN(Mpa) | 0.6~1.6 |
| 使用温度(℃) | 0~85 |
| 适用介质 | 清水 |

单口排气阀零件材料:
| 1、阀体 | 铸铁 |
| 2、阀盖 | 铸铁 |
| 3、浮球 | 不锈钢 |
| 4、塞头 | 橡胶 |
| 5、排气阀 | 黄铜 |
| 6、螺丝、螺帽 | 元钢 |
单口排气阀外形结构图:

单口排气阀连接尺寸:
| 螺纹 | 规格 | ZG | Φ | H | 法兰 | 规格 | D | D1 | Φ | H |
| 20 | 3/4" | 135 | 205 | 20 | 105 | 75 | 135 | 210 | ||
| 25 | 1" | 135 | 205 | 25 | 115 | 85 | 135 | 210 | ||
| 40 | 1 1/2" | 150 | 205 | 40 | 145 | 115 | 150 | 210 | ||
| 50 | 2" | 150 | 205 | 50 | 160 | 125 | 150 | 210 |
声明:我公司全力支持关于《中华人民共和国广告法》实施的"极限化违禁词"相关规定,且已竭力规避使用相关"违禁词"等极限化词汇,如果还有"极限化违禁词"用在我公司网站内,我公司声明其全部失效。本声明在我公司网站的所有页面内均有效,所有访问我公司网站的人员、客户均表示默认此内容,不支持任何以"极限用语、极限词、广告违禁词"等为借口或理由来投诉我公司违反《中华人民共和国广告法》或《新广告法》等相关法律,以及以此来索要赔偿等的行为。感谢您的配合与支持,谢谢!

